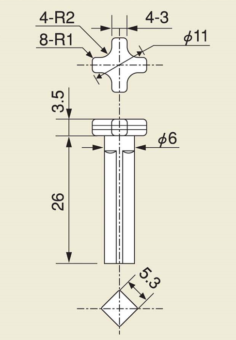
セレーションスリーブ






| 用途 | メガネフレーム部品(株式会社シャルマン様 ご提供) |
| 材質 | β型チタン合金 |
| 工程数 | 17工程 |
| 生産機種 | DSF-N1-2000 |
成形ポイント
- β型チタン合金製部品の一体成形
- 多段モーションによる塑性流動の促進
- 下死点を複数回通過させることによる寸法の安定
- 素材線径が細くなることで、金型にかかる負担が激減し、金型寿命が10倍に伸びた。
FTXは旭サナックのデジタル圧造技術センターです






| 用途 | メガネフレーム部品(株式会社シャルマン様 ご提供) |
| 材質 | β型チタン合金 |
| 工程数 | 17工程 |
| 生産機種 | DSF-N1-2000 |